C01 - A generic fiber model for the analysis of arbitrary cross sections under biaxial bending and axial load

Title: A generic fiber model for the analysis of arbitrary cross sections under biaxial bending and axial load
Authors: Charalampakis AE, Koumousis VK
Type: Conference paper
Conference: 7th International Congress on Engineering Computational Technology
Venue: Lisbon, Portugal
Date: 2004
Language: English

[abstract]

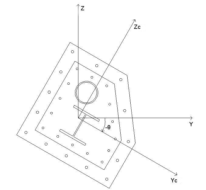
A generic fiber model algorithm for the analysis of cross sections under biaxial bending and axial load is presented. The method is applied to any cross section (reinforced, composite, repaired etc.) of irregular shape with/without openings and consisting of various materials. The only assumption is that plane sections before bending remain plain after bending (Bernoulli – Euler assumption). The cross section is described by polygons and circles. The material properties are user – defined. The stress – strain diagrams of all materials are composed of any number and any combination of consecutive parabolic or linear parts, subject to a desired accuracy. Various effects such as concrete confinement, concrete tensile strength, strain hardening of the reinforcement etc. may be taken into account, allowing full control of the designer over the entire model. A special purpose computer program with full graphical interface has been developed the main features of which are illustrated in a number of examples.

[cite as]

Charalampakis AE, Koumousis VK. A generic fiber model for the analysis of arbitrary cross sections under biaxial bending and axial load. Proc 7th International Congress on Engineering Computational Technology, Lisbon, Portugal: Civil-Comp Press; 2004, p. 423.

[cited by]

  1. Leps, M., “Single and multi–objective optimization in civil engineering with applications”, PhD Thesis, Czech Technical University in Prague, 2004.
  2. Dlouhy, L., Leps, M., Novak, M. “Optimization of reinforced concrete frames: A review”, Proc. 2nd International Conference on Soft Computing Technology in Civil, Structural and Environmental Engineering, Chania, Crete, Greece; 2011.

[ paper]
[ presentation]
[attached software : myBiaxial :  executable manual]